Home Home

CCAMLR

Commission for the Conservation of Antarctic Marine Living Resources

  • Home
  • Skip to Content
  • Log in

Search form

  • About CCAMLR
  • Conservation measures
  • Science
  • Fisheries
  • Compliance
  • Data
  • Meetings
  • Publications
  • Circulars
  • English
  • Français
  • Русский
  • Español
  • Home
  • Midwater Otter Trawl
Print this page
Increase font size
Decrease font size

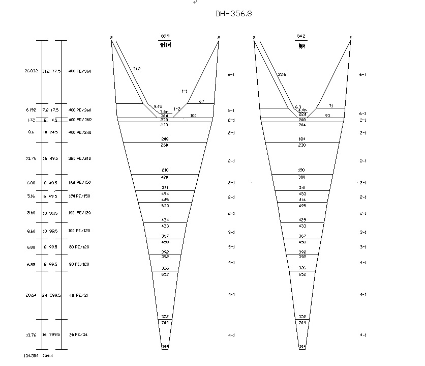
Midwater Otter Trawl

Net-mouth height: 
25m
Net-mouth width: 
27m
Total net length: 
176m
Codend-mouth height: 
2.8m
Codend-mouth width: 
2.8m
Codend length: 
42m
Codend mesh size: 
20mm
Mammal exclusion device type: 
Oblique panel in net leading to escape window
Mammal exclusion device diagram: 
download attachment 104958-Net2-Mammal exclusion device diagram-FUYUANYU9818-2019.jpg
Gear diagram: 
download attachment 104958-net2-gear-diagram-fuyuanyu9818-2019.jpg
This page was last modified on 20 May 2019

Contact us

Email: ccamlr [at] ccamlr [dot] org
Telephone: +61 3 6210 1111
Fax: +61 3 6224 8744
Address: 181 Macquarie Street, Hobart, 7000, Tasmania, Australia

 

Quick Links

  • CCAMLR data forms
  • Job vacancies
  • CCAMLR Tagging Program Equipment Ordering Information
  • Schedule of Conservation Measures in Force 2021/22

Recent and Upcoming Meetings

  • Log in
  • CCAMLR e-groups
  • Support
  • Copyright
  • Disclaimer and Privacy Policy
  • Sitemap
  • Intranet
  • Webmail
© Copyright - the Commission for the Conservation of Antarctic Marine Living Resources 2025, All rights reserved.  |  Top of page  |  Site by Eighty Options